- دستگاه تزریق پلاستیک
- پمپ هیدرولیک
- شیر هیدرولیک
- لوازم جانبی دستگاه تزریق پلاستیک
- لوازم جانبی هیدرولیک
- هیدروموتور
- هیدروموتور پیستونی شعاعی
- هیدروموتور پیستونی شعاعی اینترموت
- هیدروموتور پیستونی شعاعی دندون
- هیدروموتور پیستونی شعاعی زد وای (ZI HYD)
- هیدروموتور پیستونی شعاعی سای ایتالیا
- هیدروموتور پیستونی شعاعی طرح سای آی ان آی (INI)
- هیدروموتور پیستونی شعاعی ایتال گروپ
- هیدروموتور پیستونی شعاعی کالزونی
- هیدروموتور پیستونی شعاعی استافا (Staffa)
- هیدروموتور پیستونی محوری
- هیدروموتور اوربیتالی
- هیدروموتور پیستونی شعاعی
- الکتروموتور
پمپ هیدرولیک دنده ای رکسروت PGH
مشخصات فنی پمپ هیدرولیک دنده ای رکسروت PGH
مشخصات فنی پمپ رکسروت مدل PGH4-3X
- حجم جابجایی: بین 20 تا 50 سانتیمتر مکعب در هر دور
- فشار کاری مداوم: تا 315 بار
- فشار لحظهای مجاز: تا 350 بار
- محدوده سرعت کاری: 500 تا 3000 دور در دقیقه
- حداکثر سرعت مجاز: 3500 rpm
مشخصات فنی پمپ رکسروت مدل PGH5-3X
- حجم جابجایی: بین 63 تا 250 سانتیمتر مکعب در هر دور
- فشار کاری مداوم: تا 350 بار
- فشار لحظهای مجاز: تا 400 بار
- محدوده سرعت کاری: 500 تا 2500 دور در دقیقه
- حداکثر سرعت مجاز: 3000 rpm

تماس بگیرید
4
نفر در حال مشاهده این محصول هستند!
پمپ هیدرولیک دنده ای رکسروت PGH از نوع جابجایی ثابت (Fixed Displacement) بوده و با طراحی دقیق دنده داخلی، عملکردی بیصدا، روان و با راندمان بالا ارائه میدهند. این مدل از پمپهای سری 3X شرکت Bosch Rexroth است و برای سیستمهای هیدرولیکی با فشار کاری بالا (تا ۳۵۰ بار) طراحی شدهاند.
پمپهای PGH با ساختار مستحکم و تکنولوژی جبران شکاف، گزینهای قابلاعتماد برای کاربردهای صنعتی محسوب میشوند.
مدلهای پمپ هیدرولیک دنده ای رکسروت PGH سری 3X
پمپهای این سری در دو اندازه اصلی عرضه میشوند و شامل مدلهای زیر هستند:
مدلهای سایز 4 (PGH4-3X)
- PGH4-020
- PGH4-025
- PGH4-032
- PGH4-040
- PGH4-050
مدلهای سایز 5 (PGH5-3X)
- PGH5-063
- PGH5-080
- PGH5-100
- PGH5-125
- PGH5-160
- PGH5-200
- PGH5-250
نحوه عملکرد پمپ هیدرولیک دنده ای رکسروت PGH
در این تصویر، نماد هیدرولیکی پمپ دندهای داخلی PGH نمایش داده شده است. پورت S نشاندهنده ورودی (Suction port) و پورت P نشاندهنده خروجی یا فشار (Pressure port) است. چرخدنده داخلی و شفت در جهت مشخصشده میچرخند و روغن از سمت مکش (S) به سمت خروج (P) جابجا میشود.
فرآیند مکش و جابجایی روغن (Suction and Displacement Process)
محور شفت (شماره 4) بهصورت هیدرودینامیکی پشتیبانی شده و چرخدنده داخلی (شماره 5) را در جهت مشخص میچرخاند. فضاهای بین دندانهها در ناحیه مکش (S) باز میشوند و روغن را به داخل میکشند. سپس سیال در فضای بین دندانههای شفت و چرخدنده داخلی از ناحیه مکش به ناحیه فشار (P) منتقل میشود. در ناحیه فشار، با کاهش حجم بین دندانهها، روغن فشرده شده و به سمت پورت خروجی هدایت میشود.
ناحیه مکش و فشار توسط مجموعهی جبران شعاعی (Radial Compensation) و درگیری دندانهها از هم جدا میشوند.

جبران محوری (Axial Compensation)
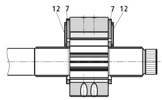
آببندی ناحیه جابجایی در بخش فشار توسط صفحات محوری (Axial Plates – شماره 7) انجام میشود. فشار سیال باعث میشود این صفحات و نگهدارندههای آن بهصورت خودکار روی نوک دندانههای شفت و چرخدنده داخلی فشرده شوند و به این ترتیب آببندی ناحیه فشار نسبت به ناحیه مکش بهصورت خودتنظیم (Automatic Clearance Adjustment) انجام میگیرد. این ویژگی عامل اصلی بازده حجمی بالا در طول عمر کاری پمپ است.
جبران شعاعی (Radial Compensation)
اجزای سیستم جبران شعاعی شامل سه بخش اصلی هستند:
قطعه جبران (Segment – شماره 9)، نگهدارنده قطعه جبران (Segment Carrier – شماره 10) و رولهای آب بندی (Sealing Rolls – شماره 11).
این اجزا در ناحیه فشار پمپ قرار گرفتهاند و به گونهای طراحی شدهاند که نیروی حاصل از فشار سیال، بهصورت یکنواخت بر روی پین تکیهگاه (Abutment Pin) منتقل شود.
این چیدمان باعث میشود فشار داخلی به شکل کنترلشدهای جذب شود و آببندی مؤثر بین ناحیه فشار و مکش حفظ گردد، در نتیجه پمپ در طول زمان با بازده حجمی بالا و سایش حداقل کار میکند.
بلبرینگ ها(یاتاقان ها) و تکیهگاهها (Hydrodynamic and Hydrostatic Bearing)
محور شفت(شماره 4) روی بلبرینگ های لغزشی هیدرودینامیکی (شماره 6) قرار دارد، در حالی که چرخدنده داخلی (شماره 5) بهصورت هیدرواستاتیکی در بدنه پشتیبانی میشود. این طراحی باعث کاهش اصطکاک، افزایش عمر مفید و عملکرد نرم پمپ میگردد.
دندانهها و مشبندی (Toothing)
دندانهها دارای پروفیل اینولوت (Involute Flanks) هستند و طول تماس زیاد آنها باعث میشود جریان خروجی پمپ با نوسان و تپش کم (Low Pulsation) و صدای کاری پایین همراه باشد.
جدول مشخصات فنی پمپ هیدرولیک دنده ای رکسروت PGH
کاربردهای پمپ هیدرولیک دنده ای رکسروت PGH
پمپهای PGH معمولاً در کاربردهایی مانند زیر استفاده میشوند:
- دستگاه تزریق پلاستیک و فرآوری پلاستیک
- پرسهای هیدرولیک و سیستمهای اتوماسیون صنعتی
- ماشینآلات ریختهگری و قالبسازی
- مدارهای شارژ آکومولاتور
ویژگی های پمپ هیدرولیک دنده ای رکسروت PGH
- طراحی دنده داخلی با جبران شکاف (Gap Compensated) برای بازدهی بالا
- عملکرد بیصدا و بدون لرزش
- کارکرد مؤثر در سرعتهای پایین و ویسکوزیتههای مختلف روغن
- سازگار با سیالات مختلف هیدرولیکی (HLP، HFC، HEES و HFD-U)
- مناسب برای کار در فشارهای بالا و سیکل کاری مداوم
خرید پمپ هیدرولیک دندهای رکسروت با بهترین قیمت
اگر به دنبال خرید پمپ هیدرولیک دندهای رکسروت هستید، فروشگاه بهداد صنعت بهترین گزینهها را برای شما ارائه میدهد. پمپهای دنده ای رکسروت از نوع دنده داخلی با جبران شکاف خودکار و بازدهی بالا هستند و برای سیستمهای هیدرولیکی صنعتی و دستگاه تزریق پلاستیک مناسب میباشند.
در بهداد صنعت، فروش انواع پمپ هیدرولیک با قیمت مناسب و همراه با مشاوره فنی تخصصی ارائه میشوند تا بهترین انتخاب را متناسب با نیاز سیستم هیدرولیک خود داشته باشید.
برای دریافت قیمت روز پمپ هیدرولیک رکسروت و ثبت سفارش، میتوانید با کارشناسان ما تماس بگیرید.
نمره 0 از 5
0 نقد و بررسی
نمره 5 از 5
0
نمره 4 از 5
0
نمره 3 از 5
0
نمره 2 از 5
0
نمره 1 از 5
0
اولین نفری باشید که دیدگاهی را ارسال می کنید برای “پمپ هیدرولیک دنده ای رکسروت PGH” لغو پاسخ
بهداد صنعت
خدمات فنی دستگاه تزریق پلاستیک، برق، PLC و هیدرولیک
در بخش هیدرولیک، شرکت بهداد صنعت بهطور تخصصی در زمینه تأمین انواع پمپ هیدرولیک شامل پمپ هیدرولیک پیستونی، پمپ هیدرولیک دندهای و پمپ هیدرولیک پرهای، شیر هیدرولیک از جمله شیر پروپرشنال، شیر کنترل فشار و شیر هیدرولیک دستی و هیدروموتورهای متنوع مانند هیدروموتور پیستونی شعاعی، محوری و اوربیتالی فعالیت میکند.
همچنین خدمات مربوط به ساخت و تأمین پاورپکهای هیدرولیکی، جکهای هیدرولیکی و دیگر لوازم جانبی هیدرولیک از جمله کارتریج ، سوپاپ، فیلتر، دستگاه روغنکاری، گیج فشار و ... توسط این مجموعه پوشش داده میشود.
علاوه بر تأمین تجهیزات، خدمات نصب، تعمیر و پشتیبانی فنی سیستمهای هیدرولیکی نیز با تکیه بر تخصص و تجربه تیم فنی شرکت، انجام میگیرد.
در زمینه ماشینآلات تزریق پلاستیک، بهداد صنعت با همکاری شرکت معتبر مینزن یکی از بزرگترین تولیدکننده ماشینآلات تزریق پلاستیک در چین، اقدام به واردات مستقیم این دستگاهها با تکنولوژی CNC و استانداردهای جهانی کرده است. این مجموعه نهتنها در زمینه فروش، بلکه در ارائهی خدمات تعمیر، نگهداری و پشتیبانی فنی دستگاههای تزریق پلاستیک نیز همراه مشتریان خود است.
همچنین در زمینه لوازم جانبی دستگاه تزریق پلاستیک از جمله موادکش، گازگیر، آسیاب و سایر تجهیزات مکمل، خدمات کامل را ارائه میدهد.
تجربه، تخصص و تعهد سه اصل کلیدی در مسیر رشد و رضایت مشتریان ماست. از تأمین قطعات تا راهاندازی ماشینآلات صنعتی، همراه مطمئن شما هستیم.




دیدگاهها
پاکسازی فیلترهیچ دیدگاهی برای این محصول نوشته نشده است.